Your region has been set automatically. Please confirm or select a different region.
Rice Lake RL20000I Alloy Steel, S-beam Load Cell
Ideally suited for scale conversions and general-purpose weighing. Compact and rugged design. Capacities range from 25 to 20,000 lb, with cable lengths available in 20, 30 or 35 ft, depending on the module.
Approvals
Some approval documents are available to view by clicking the icons below.
WARNING: Cancer and Reproductive Harm California Proposition 65
RL20000I Load Cell Specifications
|
Full Scale Output: Output Resistance: Input Resistance: Material/Finish: Temperature: |
Seal Type: Safe Overload: Rated Excitation: Combined Error: Insulation Resistance: Cable Length: |
Cable Diameter: Cable Color Code: Warranty: Approvals: |
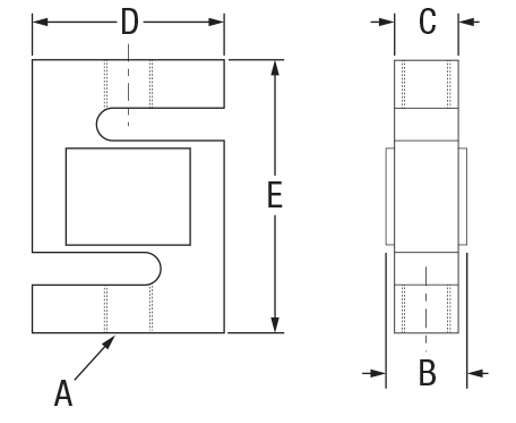
RL20000I Load Cell Dimensions

| Rated Capacity | A | B | C | D | E |
|---|---|---|---|---|---|
| lb/in | |||||
| 25 to 300 | 1/4-28 UNF | 0.75 | 0.50 | 2.00 | 2.50 |
| 500 to 1,500 | 1/2-20 UNF | 1.00 | 0.75 | 2.00 | 2.50 |
| 2,000 to 2,500 | 1/2-20 UNF | 1.25 | 1.00 | 2.00 | 2.50 |
| 3,000 | 1/2-20 UNF | 1.25 | 1.00 | 3.00 | 4.00 |
| 5,000 to 10,000 | 3/4-16 UNF | 1.25 | 1.22 | 3.00 | 4.00 |
| 15,000 | 1-12 UNF | 1.50 | 1.25 | 4.00 | 5.50 |
| 20,000 | 1 1/4-12 UNF | 2.25 | 2.00 | 5.00 | 7.00 |
Resources/Downloads
Sales Literature
| Title | Collateral Wizard | Request | Download | Category | |
|---|---|---|---|---|---|
| Load Cell Wiring Guide | Request | Download | Load Cells | ||
| Load Cell Selection Guide | Request | Download | Load Cells|Weigh Modules | ||
| Load Cell and Weigh Module Selection Guide | Request | Download | Load Cells|Weigh Modules | ||
| Load Cell and Weigh Module Handbook | Request | Download | Load Cells|Weigh Modules |
Parts
20ft Cable
| Part # | Description | List Price | Cart/Quote |
|---|---|---|---|
| 21428 | Load Cell,SBM RL20000I-25 25lb 20ft 3mv/v 350 Ohm NTEP III 5S/IIIL 10S WW FM IP67 |
List Price: $290.00 |
|
| 21429 | Load Cell,SBM RL20000I-50 50lb 20ft 3mv/v 350 Ohm NTEP III 5S/IIIL 10S WW FM IP67 |
List Price: $290.00 |
|
| 21430 | Load Cell,SBM RL20000I-75 75lb 20ft 3mv/v 350 Ohm NTEP III 5S/IIIL 10S WW FM IP67 |
List Price: $290.00 |
|
| 21431 | Load Cell,SBM RL20000I- 100 100lb 20ft 3mv/v 350 Ohm NTEP III 5S/IIIL 10S WW FM IP67 |
List Price: $290.00 |
|
| 21432 | Load Cell,SBM RL20000I- 150 150lb 20ft 3mv/v 350 Ohm NTEP III 5S/IIIL 10S WW FM IP67 |
List Price: $290.00 |
|
| 21433 | Load Cell,SBM RL20000I- 200 200lb 20ft 3mv/v 350 Ohm NTEP III 5S/IIIL 10S WW FM IP67 |
List Price: $290.00 |
|
| 21434 | Load Cell,SBM RL20000I- 250 250lb 20ft 3mv/v 350 Ohm NTEP III 5S/IIIL 10S WW FM IP67 |
List Price: $290.00 |
|
| 21435 | Load Cell,SBM RL20000I- 300 300lb 20ft 3mv/v 350 Ohm NTEP III 5S/IIIL 10S WW FM IP67 |
List Price: $290.00 |
|
| 21436 | Load Cell,SBM RL20000I- 500 500lb 20ft 3mv/v 350 Ohm NTEP III 5S/IIIL 10S WW FM IP67 |
List Price: $290.00 |
|
| 21437 | Load Cell,SBM RL20000I- 750 750lb 20ft 3mv/v 350 Ohm NTEP III 5S/IIIL 10S WW FM IP67 |
List Price: $290.00 |
|
| 21438 | Load Cell,SBM RL20000I-1K 1000lb 20ft 3mv/v 350 Ohm NTEP III 5S/IIIL 10S WW FM IP67 |
List Price: $290.00 |
|
| 21439 | Load Cell,SBM RL20000I- 1.5K 1500lb 20ft 3mv/v 350 Ohm NTEP III 5S/IIIL 10S WW FM IP67 |
List Price: $290.00 |
|
| 21440 | Load Cell,SBM RL20000I-2K 2000lb 20ft 3mv/v 350 Ohm NTEP III 5S/IIIL 10S WW FM IP67 |
List Price: $290.00 |
|
| 21441 | Load Cell,SBM RL20000I- 2.5K 2500lb 20ft 3mv/v 350 Ohm NTEP III 5S/IIIL 10S WW FM IP67 |
List Price: $290.00 |
|
| 21442 | Load Cell,SBM RL20000I-3K 3000lb 20ft 3mv/v 350 Ohm NTEP III 5S/IIIL 10S WW FM IP67 |
List Price: $335.00 |
|
| 21443 | Load Cell,SBM RL20000I-5K 5000lb 20ft 3mv/v 350 Ohm NTEP III 5S/IIIL 10S WW FM IP67 |
List Price: $470.00 |
|
| 21444 | Load Cell,SBM RL20000I- 10K 10,000lb 20ft 3mv/v 350 Ohm NTEP III 5S/IIIL 10S WW FM IP67 |
List Price: $470.00 |
|
|
21445
|
Load Cell,SBM RL20000B- 15K 15,000lb 20ft 3mv/v 350 Ohm NTEP III 5S/IIIL 10S WW FM IP67
|
List Price: $590.00 |
|
| 21446 | Load Cell,SBM RL20000I- 20K 20,000lb 20ft 3mv/v 350 Ohm NTEP III 5S/IIIL 10S WW FM IP67 |
List Price: $925.00 |
30ft or 35ft Cable (Trimmed outputs and are used in many batch plants)
Options
Conduit Adapter Kit (must be factory installed to maintain warranty)
| Part # | Description | List Price | Cart/Quote |
|---|---|---|---|
| 31533 | Adapter,Conduit SST 3/8-24UNF Thread Nipple |
List Price: $40.00 |
|
| 31534 | Adapter,Conduit SST 1/4-18 NPT 3/8-24UNF-ZA |
List Price: $40.00 |
Replacement Parts
Replacement parts can only be purchased through trained and authorized dealers. You must be logged in as a dealer to view any available replacement parts.
To locate a dealer in your area, please call us at 1-800-472-6703 or fill out a request online.
Related Products

ITCM Isolated Tension Cell Weigh Module Kit
The ITCM suspension kit weigh module incorporates clevis and unique rod-end ball joint assemblies to reduce the overall length to less than half of the traditional tension cell mounts, while providing correct load alignment.
